王紅蕾 王躍慶 無錫東電化蘭達電子有限公司(TDK-Lambda)
多路輸出的開關電源因其體積小、性價比高廣泛應用于小功率的各種復雜電子系統中。然而伴隨著現代電子系統發展,其對多路輸出電源的要求越來越高,如體積、效率、輸出電壓精度、負載能力(輸出電流)、交叉調整率、紋波和噪聲等。其中,交叉調整率是指當多路輸出電源的一路負載電流變化時整個電源各路輸出電壓的變化率,是考核多路輸出電源的重要性能指標。受變壓器各個繞組間的漏感、繞組的電阻、電流回路寄生參數等影響,多路輸出電源的交叉調整率一直以來是多路輸出開關電源的設計重點。
目前改進交叉調整率的方法可分為無源和有源兩類。有源的方法需要增加額外的線性穩壓或開關穩壓電路,雖然可以得到較高的交叉調整率,但卻是以犧牲電源的效率、成本為代價的,且從可靠性和復雜性也不如無源的方法好。提起無源交叉調整率優化方法,有經驗的工程師首先會想到輸出電壓加權反饋控制,其次如果選用反激電路還會通過優化變壓器各繞組耦合以及優化嵌位電路來進一步優化交叉調整率,如果選用的是正激電路則會將各路輸出濾波電感耦合在一起來進一步優化交叉調整率?墒钱斠陨蟽灮胧┚巡捎昧耍是無法滿足設計要求時,通常只好無奈地添加假負載用效率來換取交叉調整率,或改選為成本較高的有源的優化設計方案。
下面介紹一種TDK-Lambda新型的改善交叉調制率的多路輸出解決方案,此方案可以使得用無源方法進一步提高交叉調整率。
如圖1所示,對于匝數相等的兩個輸出繞組(Ns1=Ns2),我們在兩個跳變的同名端跨接一個電容C1,這樣可以很好地改善交叉調整率。

圖1
對于圖1所示的反激變換器,考慮其各繞組的漏感,可等效為圖2所示電路,Lleak1、Lleak2和Lleak3分別繞組Ns1、Ns2和Np的漏感。

圖2
由于Ns1=Ns2,在電源整個工作過程中,始終有Vs1=Vs2,所以電路可以等效為圖3所示,其中Is1和Is2分別為流過繞組Ns1和Ns2的電流。

圖3
電源穩定工作時,電感Lleak1和Lleak2兩端的平均電壓為0V,所以電容C1兩端的平均直流電壓也為0V。隨著電容C1容值的增大,電容上的紋波電壓會越來越小,所以Vo1會越來越接近Vo2,即電源的交叉調整率隨著C1容值的增大會越來越好。
為了便于分析,我們做出如下假設:
1、忽略電路中二極管的壓降,認為壓降為0V。
2、電容C1的容值很大,使得C1和漏感Lleak1和Lleak2的諧振周期大于SW1的開關周期。
3、Vo2輸出電壓為反饋檢測電壓,保持不變,Vo2負載較重,Vo1為輕負載,Vo1>Vo2。
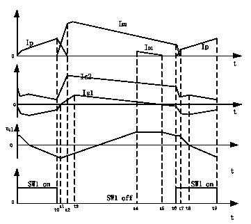
基于上面假設,電源工作期間副邊各元件的電流將如圖4所示,Is1和Is2分別為流過繞組Ns1和Ns2的電流,Ip為變壓器原邊電流,ID1和ID2分別為流經D1和D2的電流,Vc1是電容C1上的電壓。

圖4
注:本圖僅示意電壓電流的變化方向
為了便于確定電路的初始狀態,我們以t5時刻作為電源工作周期的開始,在t5時刻二極管D1的電流變為0,電容C1上的電壓Vc1此時處于最高值,且有:

在二極管D1截止后,副邊電路可進一步等效為圖5所示電路。因為Vs<Vc1,所在t5時刻電容C1與漏感Lleak1開始諧振放電,電流Is1變為負值。
- 1
- 2
- 總2頁
http:www.x5a5.com/news/51837.htm





時,二極管反向截止,副邊繞組向原邊繞組換流階段結束。 







