5W
型 號: H3027Q5-300
輸入電壓: 230VAC/120VAC
輸出電壓: 16.5VDC
輸出電流: 260MA-600MA
驅動LED: 5X1W;5X2W
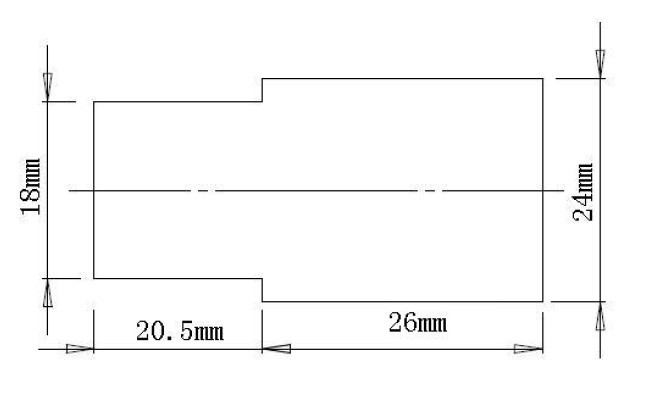
圖一(尺寸規格)
www.szhhsd.com
請在華虹時代科技網站查看產品詳細信息

圖二:電源正確安裝可以延長電源的使用壽命.用導熱硅膠將電源固定在燈座內.

◎ 產品特性
1:恒流輸出驅動,性能優異的可控硅無級調光電源,
調光平滑、穩定、無閃爍。輸出可帶3-7顆串聯
的LED大功率1W燈珠。
2:對可控硅調光器具有很好的兼容性,同時支持
前后沿切相調光器及調壓式調光器。
3:體積小巧,適用于LED球泡燈、射燈、吸頂燈、
筒燈等LED燈具內置驅動電源。
◎ 電氣規格
1:恒流輸出驅動LED
2:輸出電流精度:5%
3:調光范圍:0-100%
4:電源效率:>80%
5:功率因數:>0.94
6:環境溫度:-20℃—60℃
7:工作溫度-40℃—+105℃
8:環境濕度:80% 不結露
9:使用壽命:>30000小時
10:尺寸L*W*H=46.5*24*18mm
◎ 保護功能
1: 過壓保護
2:短路保護
◎ 調光特性
完全模擬白熾燈的調光特征,完美兼容傳統調光效果。
◎ 溫馨指示:
當使用的調光器功率大于200W時,建議一個調光器同時帶兩個或更多的電源。
如果以上參數都不符合貴公司的要求,或者需要更詳細的資料請聯系我公司工程部.